



From the big name to the less fame, Motorola has gone under many phases, but this was not always the case. Motorola was a big brand because of its RAZR lineup when smartphones were not available much. But due to the huge availability of smartphones, the fame of Motorola has been seeing bad phase. So to put a full stop to this bad phase, Motorola is again going to come back with the RAZR lineup with a foldable smartphone.
On the WIPO (World Intellectual Property Organisation), a design registration of the foldable smartphone has been seen designed by Motorola Mobility which will be under RAZR Lineup. In August 2018, the company filed a patent on the Trademark Office and United States Patent and the design is similar to that patent.
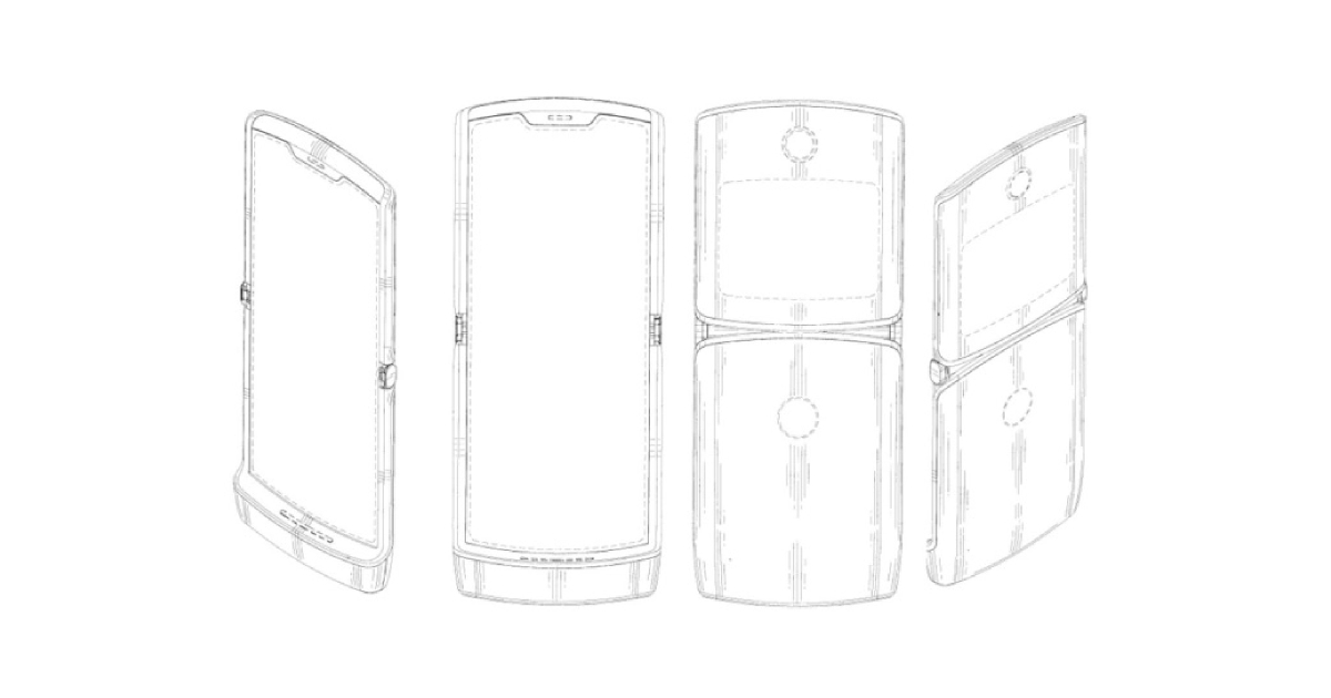
On 19th January 2019, the WIPO permitted the WIPO design registration- filed by Motorola. The design shows that the body language of the smartphone will be the same as the iconic Motorola Razr hinge and iconic chin. With the design registration, it can be guessed that the smartphone will come with two displays i.e. one primary display on the inside with having the older clamshell form factor, while another small display on the outside. In the first display, the regular work which is done will take place there which will have larger screen size and the second display might be the screen in which there will be some information which the user can do without unfolding the smartphone. On the first display, there is a notch and an earpiece while the back display has two circular shapes on both the top and bottom which can be considered as the front and rear cameras respectively. The fingerprint sensor and Motorola logo cannot be ignored.
READ ALSO: Oppo Patented Foldable Smartphone
As per the reports, the smartphone is going to come with a premium price sticker which will be the part of the RAZR lineup. The reports also claimed that the foldable RAZR smartphone will be launched in February via US carrier Verizon. The smartphone will most probably cost approx. $1,500 which is roughly Rs. 1,04,300. In 2004, the last clamshell phone was the Motorola RAZR V3 with the RAZR branding and sold 130 million units across the world.
With the title 'Electronic Device With Hinge and Corresponding Systems and Methods', the Motorola filed USPTO patent which was applied in May 2017 and was granted approx. after 1 year i.e. in August 2018.
The patent was filed in WIPO and USPTO but the design is almost different in both of them. The USPTO does not have a secondary display and there is only one camera on the top of the back display. There is no chin also. The patent does not reveal the final product, it just shows the design of the smartphone.
Along with Motorola, South Korean consumer electronics giant LG is also working on a foldable smartphone, with Huawei and Samsung and both the company confirmed the development of the model.